Главная >> Фасонные изделия >> Тройники круглые
Стальные круглые оцинкованные тройники
Производство круглых тройников из оцинкованной стали
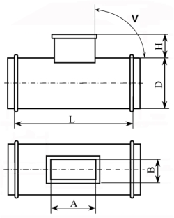
Тройник – деталь, представляющая собой прямой участок трубы с расположенной по центру врезкой. Сечение этого патрубка может быть как прямоугольным, так и круглым. Диаметр трубы основного участка тройника варьируется в пределах 100-1250 миллиметров. Угол врезки патрубка в стандартном исполнении в пределах 45-90 градусов.
В индивидуальном порядке компания может изготовить тройник для воздуховода с нестандартным углом, длиной и высотой врезки. Для этого заказчику необходимо изложить свои специфические условия – соотношение диаметров трубы и патрубка, высоту врезки, общую длину тройника. Препятствием для изготовления нестандартного изделия могут быть только технологические ограничения.
Тройники с круглым сечением используются при монтаже горизонтальной или вертикальной разводки в сетях воздуховодов. Для каждого типа ответвлений используются соответствующие тройники, которые соединяются с воздуховодом с помощью:
- ниппелей;
- резинового уплотнителя;
- фланцевого соединения.
Чтобы заказать изготовление тройника, необходимо указать диаметр его прямой части и врезки. При заказе нестандартной детали нужно дополнительно указать длину ее прямой части, высоту и угол наклона патрубка.
| Тройник круглый |
| Тип |
Чертеж тройника |
Параметры по умолчанию |
| Тип 1 |


|
H = 60 мм
L = d + 120 мм
V = 90 град |
| Тип 2 |


|
H = 100 мм
L = A + 120 мм
V = 90 град |
| Тип 3 |


|
H = 60 мм
L = d + 120 мм
M = N = 0 мм
V = 90 град |
| Тип 4 |


|
H = 100 мм
L = A + 120 мм
M = N = 0 мм
V = 90 град |
Тройник круглого сечения применяется для создания ответвления (разводки) сети воздуховодов. Ответвление может быть как по горизонтали, так и по вертикали, в зависимости от положения тройника.
Типы соединения для тройников:
- на ниппелях;
- на резиновом уплотнителе;
- на фланцах.
Для заказа тройника необходимо указать следующие параметры: диаметр прямой части (D), диаметр врезки (d). Если требуется нестандартная длина тройника, высота врезки и угол наклона - указать значение длины (L), высоты (H), угла наклона (V). |